HOME / PRODUCTS / CMM MANUAL / Layout Machine J Model

Layout Machine J Model

High Accuracy Model


  • Easy to use
  • J-model, with a very simple standard specification, enables to select an extra knob and a fine feed according to the purpose; In J-model, the elements are human friendly arranged.
  • Precision degree is established according to Japan Industrial Standard (JIS B7440) (However, the precision given here applies only when using the model frame).
  • Using a square section for the arm and column may prevent yawing, pitching and rolling. The arm head and column head are of type divided, making the adjustment easier; the true rectangularity is improved and the backlash hardly produced.
  • Can be used for multi purposes.
  • Able to use the conventional driving system and attachments.
  • Up-grading of the system is possible in order to use a manual mode drive /CNC.
  • The CNC system is improved in rigidity and precision by using carbon fiber-reinforced plastics (CFRP) arm.

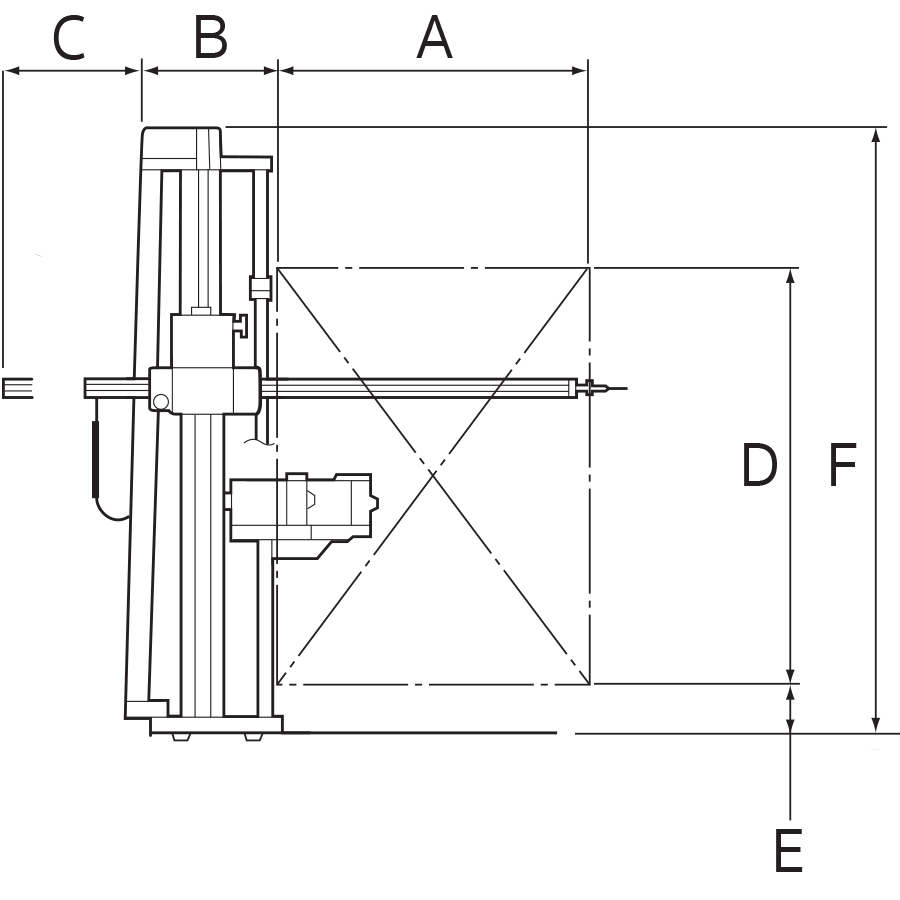
Specification

TYPE A B C D E F Accuracy/Axis Weight(kg.)
1212J 1500 364 1636 1200 210 2010 ±0.04 380
1612J 1200 364 1636 1600 210 2410 ±0.04 400
1615J 1500 364 1936 1600 210 2410 ±0.04 410
2015J 1500 364 1936 2000 210 2810 ±0.04 450
When using the frame dedicated for the Layout Machine, the precision means a requirement for each axis, given based upon the TTS's inspection procedure

Use of the J-model frame (in µm)
TYPE U1 U3
1212J 40+30L/1000 50+40L/1000
1612J 40+40L/1000 50+50L/1000
1615J 40+50L/1000 50+60L/1000
2015J 50+50L/1000 60+60L/1000
L:mm Precision inspection standard: arithmetic